娱乐中心

新光明泵业专注生产离心泵、隔膜泵、螺杆泵、磁力泵、油泵、排污泵、单螺杆泵、磁力驱动泵、自吸泵、化工泵、计量泵、卫生泵、消防泵、液下泵、多级泵、真空泵、转子泵、气动隔膜泵、电动隔膜泵、立式离心泵、卧式离心泵、铸铁气动隔膜泵、不锈钢气动隔膜泵、铸铁电动隔膜泵、不锈钢电动隔膜泵、G型单螺杆泵、WQ潜水排污泵、CQ磁力驱动泵、KCB齿轮油泵、ZW自吸式排污泵、QBY工程塑料气动隔膜泵、QBY铸铁气动隔膜泵、QBY铝合金气动隔膜泵、QBK-40不锈钢气动隔膜泵等泵。
上海新光明泵业

不锈钢电动隔膜泵工作原理结构图及说明

发布人:隔膜泵厂家 发布日期:2021-06-24 点击率: 本文关键词:不锈钢电动隔膜泵,电动隔膜泵

娱乐中心电动隔膜泵现在是一种新型泵,其特点是不需要灌溉或引水。隔膜材料的突破及其强大的自吸能力使其适用于石油化工、陶瓷、冶金等行业。不锈钢电动隔膜泵为容积泵,其工作原理与气动隔膜泵基本相同,但电动隔膜泵的原理区别在于功率转换。

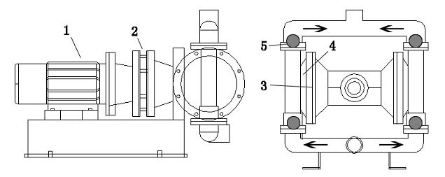
不锈钢电动隔膜泵工作原理,见下图:

不锈钢电动隔膜泵工作原理结构图

娱乐中心不锈钢电动隔膜泵工作原理结构图

1、通过减速机。

2、主轴带动偏心轮和大轴承偏心旋转,泵体骨架连杆轴由偏心轮和大轴承带动往复运动。连杆轴左右两端的膜片。

娱乐中心3、因此,进行左右往复运动。左右有两个泵室。

娱乐中心4、每台配备两组单球阀,一套在另一套之上。

5、泵腔内的容量因隔膜的左右运动而有规律地变化。强制四个单球阀交替打开和关闭以吸入和排出液体以产生流体。这就是电动隔膜泵的工作原理。KYD电动隔膜泵的工作原理是以骨架连杆轴为往复轴,输出轴为整条长轴,长轴采用双轴承运转,区别于常规的DBY电动隔膜泵泵。变化。偏心轮为独立运行设计,保证电力隔膜泵受力稳定,运行快速安 全。

电动隔膜泵娱乐中心和气动隔膜泵工作原理的区别在于它们的动力源不同。电动隔膜泵的动力由电机提供,运行平稳。即使安装了无级调速和变频调速,电动隔膜泵工作原理的往复行程切换也可以通过偏心轮的匀速旋转来自然切换,这是气动隔膜泵无法实现的。

KYD系列电动隔膜泵采用双轴承全轴运行设计。另一方面,它保证了整机的平衡,解决了传统电动隔膜泵的偏心环(伪偏心)。由短轴加工而成的车轮)。破题。整轴运转是指电机的输出由与减速机一体的长轴通过偏心轮和轴承驱动。双轴承是指减速机的一根长轴上有两个轴承以保证稳定性。

DBY系列不锈钢电动隔膜泵娱乐中心的主要特点是不需要灌溉,可以让直径小于10毫米的颗粒和泥浆顺利通过。流经泵体的介质按用户要求分为铸铁、不锈钢、衬胶;DBY电动隔膜泵可用于各种胶乳、有机溶剂、填料等。各种特殊介质的吸移。为避免瞬间流动,压力下降过快,联锁装置跳动。

DBY-65-50不锈钢电动隔膜泵

DBY-65-50不锈钢电动隔膜泵

本文链接:http://shyzpv.com/content-27-125.htm

相关新闻

联系地址:娱乐中心上海市静安区武定路576号

E-mail:info@xinguangminggroup.com

微信 QQ 微博 1688 淘宝

离心泵厂家-新光明主营: 气动隔膜泵电动隔膜泵立式离心泵卧式离心泵铸铁气动隔膜泵不锈钢气动隔膜泵铸铁电动隔膜泵不锈钢电动隔膜泵G型单螺杆泵WQ潜水排污泵CQ磁力驱动泵KCB齿轮油泵ZW自吸式排污泵

美彩国际 - 欢迎您 名贯彩票-大发精准计划 88爱彩 - 欢迎您 美彩国际7709 德彩网 - 欢迎您 8458万彩网 美彩国际 - 欢迎您 79991cm德彩网