当前位置:离心泵厂家 / 新闻动态 / 公司新闻 / 液压隔膜计量泵结构图
液压式隔膜计量泵可输送温度-30℃-100℃,粘度为0.3-800mm2/s不含固体颗粒等腐蚀性或非腐蚀性液体介质。不同型号的计量泵均可根据用要求装配变频电机(能接收4-20mA电流信号)或防爆电机。
娱乐中心液压式隔膜计量泵可广泛用于石油、化工、纺织、食品、造纸、原子能技术、电厂、塑料、制药、水厂、环保等工业和科技部门。
液压式隔膜计量泵结构图纸
液压式隔膜计量泵由电动机传动机构、液压系统等组成。 传动机构
行程调节机构由曲轴、偏心轮、调节螺母、调节丝杆、调节手轮(柄)、刻度盘〔指针)和标尺构成,由改变偏心距来达到柱塞的相对行程。
娱乐中心由电机动力传递给蜗杆、蜗轮实现减速旋转,促使曲轴、连杆机构作往复运动,带动柱塞产生液力。
液压系统
液压式隔膜计量泵液力端的柱塞由传动端的曲柄连杆机构的往复运动带动进行工作。柱塞在液压腔内作往复运动,促使液压油的压力变化,使液压隔膜式挠曲位移来输送介质,液压腔内液压油量的相对稳定,由三阀的功能来保持。
娱乐中心液压液压式隔膜计量泵的液压系统,其结构由柱塞、缸体、缸盖、进出口阀、液压隔膜式和三阀组成(即:放气过载阀、限位阀、补偿阀)。在工作中由膜片隔开液压油和介质,故液压式隔膜计量泵有无泄漏的优点。
娱乐中心过载阀自动排出液压油中进入液压腔内的气体,保证工作的平稳,避免了液压油过多或排放管道受阻产生超压自动开启过载阀,达到保护目的。
限位补偿装置是借助液压隔膜式推动限位阀的开放,按液压腔内的真空度随时补充油量,保证液压腔内液压油的充满。

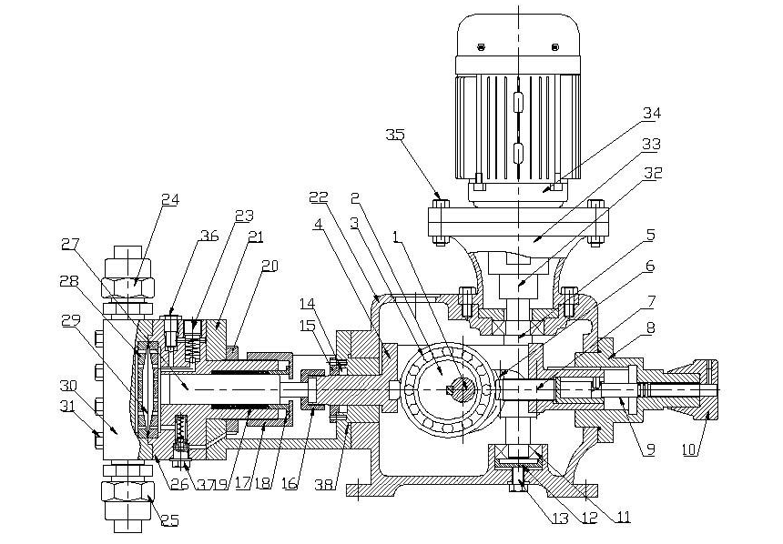
液压式隔膜计量泵装配图
| 序号 | 零件名称 | 件数 | 序号 | 零件名称 | 件数 | |
| 1 | 主轴 | 1 | 20 | 圆螺帽 | 1 | |
| 2 | 偏心轮 | 1 | 21 | 泵头联接头 | 1 | |
| 3 | 滚轮 | 1 | 22 | 泵体 | 1 | |
| 4 | 连杆 | 1 | 23 | 过载阀 | 1 | |
| 5 | 蜗杆 | 1 | 24 | 排水阀总成 | 1 | |
| 6 | 蜗轮 | 1 | 25 | 进水阀总成 | 1 | |
| 7 | 顶杆 | 1 | 26 | 泵头底座 | 1 | |
| 8 | 调节器 | 1 | 27 | 柱塞 | 1 | |
| 9 | 调节杆 | 1 | 28 | 膜片底座 | 1 | |
| 10 | 手轮 | 1 | 29 | 膜片 | 1 | |
| 11 | 轴承 | 1 | 30 | 泵头 | 1 | |
| 12 | 调节底板 | 1 | 31 | 泵头螺栓 | 6 | |
| 13 | 调节螺丝 | 1 | 32 | 传动接 | 1 | |
| 14 | 油封 | 1 | 33 | 电机座 | 1 | |
| 15 | 油封压板 | 1 | 34 | 电机 | 1 | |
| 16 | 联接螺帽 | 1 | 35 | 螺栓 | 4 | |
| 17 | 填料并帽 | 1 | 36 | 放气螺丝 | 1 | |
| 18 | 填料压板 | 1 | 37 | 补油阀 | 1 | |
| 19 | 填料 | 1组 | 38 | 密封圈 | 1 |